Khổ giấy A4 là khổ giấy có kích thước:
A. 841 x 594.
B. 594 x 420.
C. 420 x 297.
D. 297 x 210.
Tổng hợp đề thi học kì 1 lớp 8 tất cả các môn - Kết nối tri thức
Toán - Văn - Anh - Khoa học tự nhiên
Câu 1
Trả lời câu hỏi 1 trang 4 SBT Công nghệ 8 Kết nối tri thức
Khổ giấy A4 là khổ giấy có kích thước:
A. 841 x 594.
B. 594 x 420.
C. 420 x 297.
D. 297 x 210.
Lời giải chi tiết:
Đáp án đúng là: D
841 x 594: khổ A1
594 x 420: khổ A2
420 x 297: khổ A3
297 x 210: khổ A4
Câu 2
Trả lời câu hỏi 2 trang 4 SBT Công nghệ 8 Kết nối tri thức
Một viên gạch có kích thước một bề mặt 200 mm và 100 mm. Trên bản vẽ, bề mặt đó được vẽ với kích thước tương ứng là 20 mm và 10 mm. Tỉ lệ vẽ là:
A. 1 : 2.
B. 1 : 4
C. 1 : 5.
D. 1 : 10.
Lời giải chi tiết:
Đáp án đúng là: D
Ta có:
20 : 200 = 1 : 10 và 10 : 100 = 1 : 10
Vậy tỉ lệ vẽ là: 1 : 10.
Câu 3
Trả lời câu hỏi 3 trang 4 SBT Công nghệ 8 Kết nối tri thức
Trên bản vẽ kĩ thuật, nét liền mảnh được dùng để
A. vẽ đường bao thấy, cạnh thấy.
B. vẽ đường bao khuất, cạnh khuất.
C. đường kích thước, đường gióng...
D. vẽ đường tâm, đường trục.
Lời giải chi tiết:
Đáp án đúng là: C
Nét liền đậm: vẽ đường bao thấy, cạnh thấy.
Nét đứt mảnh: vẽ đường bao khuất, cạnh khuất.
Nét liền mảnh: đường kích thước, đường gióng...
Nét gạch chấm mảnh: vẽ đường tâm, đường trục.
Câu 4
Trả lời câu hỏi 4 trang 5 SBT Công nghệ 8 Kết nối tri thức
Trên bản vẽ kĩ thuật, nét đứt mảnh được dùng để
A. vẽ đường bao thấy, cạnh thấy.
B. vẽ đường bao khuất, cạnh khuất.
C. vẽ đường tâm đường trục.
D. vẽ đường gióng, đường kích thước.
Lời giải chi tiết:
Đáp án đúng là: B
Nét liền đậm: vẽ đường bao thấy, cạnh thấy.
Nét đứt mảnh: vẽ đường bao khuất, cạnh khuất.
Nét gạch chấm mảnh: vẽ đường tâm đường trục.
Nét liền mảnh: vẽ đường gióng, đường kích thước.
Câu 5
Trả lời câu hỏi 5 trang 5 SBT Công nghệ 8 Kết nối tri thức
Chỉ ra phát biểu đúng.
A. Đường kích thước được vẽ bằng nét đứt mảnh.
B. Đường kích thước được vẽ bằng nét liền mảnh và thường có vẽ mũi tên ở 2 đầu.
C. Đường kích thước được vẽ bằng nét liền đậm và thường có vẽ mũi tên ở 2 đầu.
D. Đường kích thước được vẽ bằng nét gạch dài – chấm – mảnh.
Lời giải chi tiết:
Đáp án đúng là: B
Nét đứt mảnh: vẽ đường bao khuất, cạnh khuất.
Nét liền đậm: vẽ đường bao thấy, cạnh thấy.
Nét gạch chấm mảnh: vẽ đường tâm, đường trục.
Câu 6
Trả lời câu hỏi 6 trang 5 SBT Công nghệ 8 Kết nối tri thức
Chỉ ra phát biểu đúng.
A. Đường gióng được vẽ bằng nét liền mảnh. Đường gióng nên vẽ vuông góc với độ dài cần ghi kích thước.
B. Đường gióng được vẽ bằng nét liền mảnh. Đường gióng nên vẽ song song với độ dài cần ghi kích thước.
C. Đường gióng được vẽ bằng nét đứt mảnh. Đường gióng nên vẽ vuông góc với độ dài cần ghi kích thước.
D. Đường gióng được vẽ bằng nét liền đậm.
Lời giải chi tiết:
Đáp án đúng là: A
Đường kích thước song song với độ dài cần ghi kích thước bên đáp án B sai.
Nét đứt mảnh chỉ vẽ đường bao khuất, cạnh khuất nên đáp án C sai.
Nét liền đậm chỉ vẽ đường bao thấy, cạnh thấy nên đáp án D sai.c
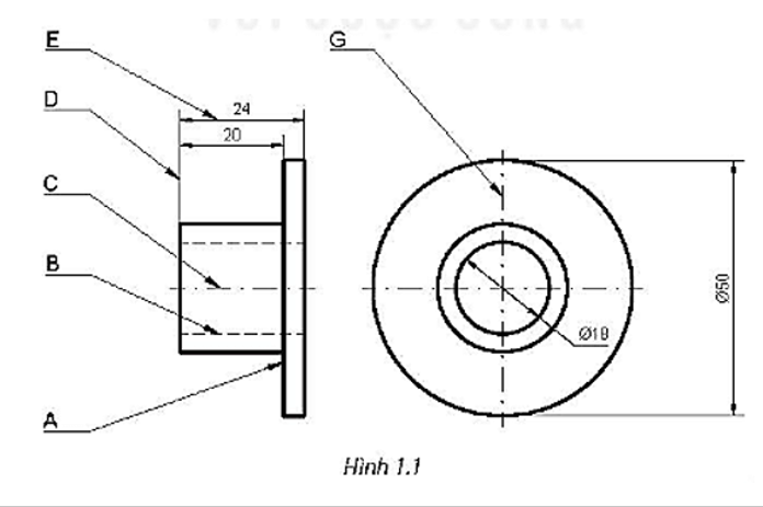
Câu 7
Trả lời câu hỏi 7 trang 5 SBT Công nghệ 8 Kết nối tri thức
Quan sát và cho biết tên gọi của các nét vẽ được sử dụng trên Hình 1.1.

Lời giải chi tiết:
Nội dung đang được cập nhật...
Câu 8
Trả lời câu hỏi 8 trang 6 SBT Công nghệ 8 Kết nối tri thức
Hãy vẽ lại Hình 1.2 trên giấy A4 với tỉ lệ 1:1.

Lời giải chi tiết:
