Tải về
Tổng hợp đề thi học kì 1 lớp 11 tất cả các môn - Chân trời sáng tạo
Toán - Văn - Anh - Lí - Hóa - Sinh
Dùng dung môi lỏng hòa tan chất hữu cơ để tách chúng ra khỏi hỗn hợp rắn là phương pháp:
Đề bài
Câu 1 :
Nếu ta dẫn khí SO2 từ từ đến dư vào dung dịch brom sẽ có phản ứng hóa học xảy ra kèm hiện tượng gì sau đây?
-
A.
Dung dịch không đổi màu.
-
B.
Dung dịch bị vẫn đục do tạo kết tủa và kết tủa không tan.
-
C.
Dung dịch sẽ có màu đỏ nâu đậm dần lên hơn lúc ban đầu.
-
D.
Dung dịch sẽ nhạt màu đỏ nâu rồi mất hẳn màu.
Câu 2 :
Cho các phản ứng sau:

Có bao nhiêu phản ứng trong đó sulfur đóng vai trò là chất khử?
-
A.
1
-
B.
2
-
C.
3
-
D.
4
Câu 3 :
Cho các câu sau
(1) Sục khí SO2 vào dung dịch NaOH dư tạo ra muối trung hòa Na2SO3
(2) Phân tử SO2 có cấu tạo thẳng
(3) SO2 vừa có tính khử, vừa có tính oxi hóa
(4) Khí SO2 là một trong những nguyên nhân chính gây ra mưa acid
(5) Khí SO2 có màu vàng lục và rất đọc
Các câu đúng là
-
A.
2, 5
-
B.
1, 2, 3, 5
-
C.
1, 3, 4, 5
-
D.
1, 3, 4
Câu 4 :
Tính chất vật lí nào sau đây không phải của H2SO4?
-
A.
Là chất lỏng không màu, sánh như dầu.
-
B.
Nặng gần gấp 2 lần nước.
-
C.
Tan nhiều trong nước và quá trình hòa tan tỏa nhiệt lớn.
-
D.
Có nhiệt độ sôi thấp.
Câu 5 :
Không được rót nước vào H2SO4 đậm đặc vì:
-
A.
H2SO4 có tính oxy hoá mạnh.
-
B.
H2SO4 tan trong nước và phản ứng với nước.
-
C.
H2SO4 đặc khi tan trong nước toả ra một lượng nhiệt lớn gây ra hiện tượng nước sôi bắn ra ngoàirất nguy hiểm.
-
D.
H2SO4 có nhiệt độ sôi thấp nên bay hơi.
Câu 6 :
Khi làm thí nghiệm với H2SO4 đặc, nóng thường sinh ra khí SO2. Để hạn chế tốt nhất khí SO2 thoát ra gây ô nhiễm môi trường, người ta nút ống nghiệm bằng bông tẩm dung dịch nào sau đây?
-
A.
Giấm ăn.
-
B.
Muối ăn.
-
C.
Cồn.
-
D.
Xút.
Câu 7 :
Cho từng chất: Fe, FeO, Fe(OH)2, Fe3O4, Fe2O3, Fe(NO3)3, Fe(NO3)2, FeSO4, Fe2(SO4)3, FeCO3 lần lượt phản ứng với H2SO4 dư, đặc nóng. Số lượng phản ứng thuộc loại phản ứng oxi hoá – khử là?
-
A.
8
-
B.
6.
-
C.
5.
-
D.
7.
Câu 8 :
Nhóm chức nào sau đây chỉ chứa liên kết C = O
-
A.
Alcohol.
-
B.
Ketone.
-
C.
Aldehyde.
-
D.
Carboxylic acid.
Câu 9 :
Cho dãy chất: CH4 ; C6H6 ; C6H5OH ; C2H5ZnI ; C2H5PH2. Nhận xét nào sau đây đúng ?
-
A.
Các chất trong dãy đều là hydrocarbon.
-
B.
Có 2 dẫn xuất của hydrocacbon và 2 hydrocarbon.
-
C.
Các chất trong dãy đều là hợp chất hữu cơ.
-
D.
Có 3 hợp chất vô cơ và 2 hợp chất hữu cơ.
Câu 10 :
Nhận xét nào đúng về các chất hữu cơ so với các chất vô cơ ?
-
A.
Độ tan trong nước lớn hơn.
-
B.
Độ bền nhiệt cao hơn.
-
C.
Tốc độ phản ứng nhanh hơn.
-
D.
Nhiệt độ nóng chảy, nhiệt độ sôi thấp hơn.
Câu 11 :
Hãy chọn phát biểu đúng nhất về hoá học hữu cơ trong số các phát biểu sau
-
A.
Hoá học hữu cơ là ngành hoá học chuyên nghiên cứu các hợp chất của carbon.
-
B.
Hoá học hữu cơ là ngành hoá học chuyên nghiên cứu các hợp chất của carbon, trừ cacbon (II) oxide, cacbon (IV) oxide, muối carbonate, carbide.
-
C.
Hoá học hữu cơ là ngành hoá học chuyên nghiên cứu các hợp chất của cacbon, trừ cacbon (II) oxide, cacbon (IV) oxide.
-
D.
Hoá học hữu cơ là ngành hoá học chuyên nghiên cứu các hợp chất của carbon trừ muối carbonate.
Câu 12 :
Hợp chất Y có công thức phân tử C2H6O, là một hợp chất dễ bay hơi, có nhiều ứng dụng
trong đời sống. Dựa vào bảng tín hiệu phổ hổng ngoại của một số nhóm chức cơ bản và phố IR dưới đây, hãy cho biết trong phân tử C2H6O có nhóm chức của hợp chất nào sau đây?

-
A.
Alcohol
-
B.
Carboxylic acid
-
C.
Ester
-
D.
Amine
Câu 13 :
Nấu rượu truyền thống là một phương pháp nấu rượu hoàn toàn thủ công đòi hỏi người nấu phải có kinh nghiệm và thuân thủ đúng quy trình “…” mới sản xuất được rượu đạt chuẩn . Chữ “…” còn thiếu trong câu trên là :
-
A.
Chưng cất.
-
B.
Chiết.
-
C.
Kết tinh.
-
D.
Sắc kí cột.
Câu 14 :
Mật ong để lâu thường thấy xuất hiện chất rắn ở đáy chai . Đó là hiện tượng
-
A.
kết tinh đường glucose do nước trong mật ong bay hơi.
-
B.
kết tinh đường glucose và fructose do nước trong mật ong bay hơi.
-
C.
kết tinh đường saccarose do nước trong mật ong bay hơi.
-
D.
kết tinh đường fructose do nước trong mật ong bay hơi.
Câu 15 :
Khi chưng cất dung dịch ethanol và nước chất nào sẽ chuyển thành hơi sớm hơn? (Biết nhiệt độ sôi của ethanol và nước lần lượt là 78,3oC và 100oC )
-
A.
Ethanol bay hơi trước.
-
B.
Nước bay hơi trước.
-
C.
Ethanol và nước chuyển hơi cùng lúc.
-
D.
Ethanol và nước không bay hơi.
Câu 16 :
Giã lá cây chàm, cho vào nước, lọc lấy dung dịch màu để nhuộm sợi, vải. Cách làm này thuộc loại phương pháp tách biệt và tinh chế nào ?
-
A.
Chưng cất.
-
B.
Chiết.
-
C.
Kết tinh.
-
D.
Sắc kí cột.
Câu 17 :
Số đồng phân mạch hở có thể có ứng với các công thức phân tử C3H7Cl là
-
A.
5.
-
B.
2.
-
C.
3.
-
D.
4.
Câu 18 :
Cho cặp chất: C2H5OH và CH3OCH3; CH3OCH3và CH3CHO; C6H5CH2OH và C6H5CH2CH2OH; CH3–CH2–CH2–CH3 và CH3–CH2–CH3. Số cặp chất là đồng đẳng
-
A.
1
-
B.
2
-
C.
3
-
D.
4
Câu 19 :
Số chất sau đây là thuộc cùng một công thức phân tử?
CH3–CH2–CH2– CH2–CH3 ; CH3–C(CH3)2 –CH3 ; CH3–CH2–CH2–CH3 ;CH3–CH(CH3)– CH2–CH3
-
A.
1
-
B.
2
-
C.
3
-
D.
4
Câu 20 :
Hình sau đây là phổ khối lượng của phân tử acetic acid.

Phân tử khối của acetic acid bằng
-
A.
43.
-
B.
45.
-
C.
60.
-
D.
29.
Câu 1 :
(2 điểm): Kết quả phân tích nguyên tố cho thấy trong hợp chất Y, carbon chiếm 85,7% còn hydrogen chiếm 14,3% về khối lượng.
(a) Y là hydrocarbon hay dẫn xuất của hydrocarbon.
(b) Xác định công thức đơn giản nhất của Y.
(c) Biết Y có phân tử khối là 56, xác định công thức phân tử của Y.
Câu 2 :
(2 điểm): Cho phương trình hoá học của phản ứng:
N2O4(l) + 2N2H4(l) → 3N2(g) + 4H2O(g)
Biết enthalpy tạo thành chuẩn của các chất được trình bày trong bảng sau:
|
Chất |
N2O4(l) |
N2H4(l) |
H2O(g) |
|
\({\Delta _r}H_{298}^o\) |
-19,56 |
50,63 |
-241,82 |
(a) Tính nhiệt tỏa ra khi đốt cháy 1 kg hỗn hợp lỏng gồm N2O4 và N2H4.
(b) Tại sao hỗn hợp lỏng (N2O4 và N2H4) được dùng làm nhiên liệu tên lửa?
Lời giải và đáp án
Câu 1 :
Nếu ta dẫn khí SO2 từ từ đến dư vào dung dịch brom sẽ có phản ứng hóa học xảy ra kèm hiện tượng gì sau đây?
-
A.
Dung dịch không đổi màu.
-
B.
Dung dịch bị vẫn đục do tạo kết tủa và kết tủa không tan.
-
C.
Dung dịch sẽ có màu đỏ nâu đậm dần lên hơn lúc ban đầu.
-
D.
Dung dịch sẽ nhạt màu đỏ nâu rồi mất hẳn màu.
Đáp án : D
Dựa vào tính chất hóa học của SO2
SO2 khử Br2 thành dung dịch HBr, làm mất màu dung dịch Br2
Đáp án D
Câu 2 :
Cho các phản ứng sau:

Có bao nhiêu phản ứng trong đó sulfur đóng vai trò là chất khử?
-
A.
1
-
B.
2
-
C.
3
-
D.
4
Đáp án : B
Dựa vào sự thay đổi oxi hóa của sulfur
(1), (3) thể hiện tính khử
Đáp án B
Câu 3 :
Cho các câu sau
(1) Sục khí SO2 vào dung dịch NaOH dư tạo ra muối trung hòa Na2SO3
(2) Phân tử SO2 có cấu tạo thẳng
(3) SO2 vừa có tính khử, vừa có tính oxi hóa
(4) Khí SO2 là một trong những nguyên nhân chính gây ra mưa acid
(5) Khí SO2 có màu vàng lục và rất đọc
Các câu đúng là
-
A.
2, 5
-
B.
1, 2, 3, 5
-
C.
1, 3, 4, 5
-
D.
1, 3, 4
Đáp án : D
Dựa vào tính chất vật lí và hóa học của khí SO2
(1) đúng
(2) sai
(3) đúng
(4) đúng
(5) sai
Đáp án D
Câu 4 :
Tính chất vật lí nào sau đây không phải của H2SO4?
-
A.
Là chất lỏng không màu, sánh như dầu.
-
B.
Nặng gần gấp 2 lần nước.
-
C.
Tan nhiều trong nước và quá trình hòa tan tỏa nhiệt lớn.
-
D.
Có nhiệt độ sôi thấp.
Đáp án : D
Dựa vào tính chất vật lí của H2SO4
H2SO4 là chất lỏng không màu, sánh như dầu, tan nhiều trong nước, có nhiệt độ sôi cao
Đáp án D
Câu 5 :
Không được rót nước vào H2SO4 đậm đặc vì:
-
A.
H2SO4 có tính oxy hoá mạnh.
-
B.
H2SO4 tan trong nước và phản ứng với nước.
-
C.
H2SO4 đặc khi tan trong nước toả ra một lượng nhiệt lớn gây ra hiện tượng nước sôi bắn ra ngoàirất nguy hiểm.
-
D.
H2SO4 có nhiệt độ sôi thấp nên bay hơi.
Đáp án : C
Dựa vào tính chất hóa học của H2SO4 đặc
H2SO4 đặc có tính háo nước, tỏa nhiệt mạnh và có hiện tượng nước sôi bắn ra ngoài khi pha loãng H2SO4 không đúng cách
Đáp án C
Câu 6 :
Khi làm thí nghiệm với H2SO4 đặc, nóng thường sinh ra khí SO2. Để hạn chế tốt nhất khí SO2 thoát ra gây ô nhiễm môi trường, người ta nút ống nghiệm bằng bông tẩm dung dịch nào sau đây?
-
A.
Giấm ăn.
-
B.
Muối ăn.
-
C.
Cồn.
-
D.
Xút.
Đáp án : D
Dựa vào tính chất hóa học của SO2
SO2 có tính acid khi tan trong nước nên sử dụng NaOH để hấp thụ khí SO2
Đáp án D
Câu 7 :
Cho từng chất: Fe, FeO, Fe(OH)2, Fe3O4, Fe2O3, Fe(NO3)3, Fe(NO3)2, FeSO4, Fe2(SO4)3, FeCO3 lần lượt phản ứng với H2SO4 dư, đặc nóng. Số lượng phản ứng thuộc loại phản ứng oxi hoá – khử là?
-
A.
8
-
B.
6.
-
C.
5.
-
D.
7.
Đáp án : D
H2SO4 đặc nóng là chất oxi hóa mạnh, nên khi tác dụng với chất có tính khử sẽ có phản ứng oxi hóa – khử
Fe, FeO, Fe(OH)2, Fe3O4, Fe(NO3)2, FeSO4, FeCO3 là những chất có tính khử
Đáp án D
Câu 8 :
Nhóm chức nào sau đây chỉ chứa liên kết C = O
-
A.
Alcohol.
-
B.
Ketone.
-
C.
Aldehyde.
-
D.
Carboxylic acid.
Đáp án : B
Dựa vào cấu tạo của các nhóm chức
Nhóm chức ketone chỉ chứa liên kết C=O
Đáp án B
Câu 9 :
Cho dãy chất: CH4 ; C6H6 ; C6H5OH ; C2H5ZnI ; C2H5PH2. Nhận xét nào sau đây đúng ?
-
A.
Các chất trong dãy đều là hydrocarbon.
-
B.
Có 2 dẫn xuất của hydrocacbon và 2 hydrocarbon.
-
C.
Các chất trong dãy đều là hợp chất hữu cơ.
-
D.
Có 3 hợp chất vô cơ và 2 hợp chất hữu cơ.
Đáp án : C
Hydrocarbon là những hợp chất hữu cơ chứa nguyên tố carbon và hydrogen
Dẫn xuất hydrocarbon là những hợp chất hữu cơ chứa các nguyên tố khác ngoài nguyên tố C và H
CH4, C6H6 là hydrocarbon
C6H5OH, C2H5ZnI, C2H5PH2 là dẫn xuất hydrocarbon
đáp án C
Câu 10 :
Nhận xét nào đúng về các chất hữu cơ so với các chất vô cơ ?
-
A.
Độ tan trong nước lớn hơn.
-
B.
Độ bền nhiệt cao hơn.
-
C.
Tốc độ phản ứng nhanh hơn.
-
D.
Nhiệt độ nóng chảy, nhiệt độ sôi thấp hơn.
Đáp án : D
Dựa vào đặc điểm của hợp chất hữu cơ
Chất hữu cơ có nhiệt độ nóng chảy, nhiệt độ sôi thấp hơn hợp chất hữu cơ
Đáp án D
Câu 11 :
Hãy chọn phát biểu đúng nhất về hoá học hữu cơ trong số các phát biểu sau
-
A.
Hoá học hữu cơ là ngành hoá học chuyên nghiên cứu các hợp chất của carbon.
-
B.
Hoá học hữu cơ là ngành hoá học chuyên nghiên cứu các hợp chất của carbon, trừ cacbon (II) oxide, cacbon (IV) oxide, muối carbonate, carbide.
-
C.
Hoá học hữu cơ là ngành hoá học chuyên nghiên cứu các hợp chất của cacbon, trừ cacbon (II) oxide, cacbon (IV) oxide.
-
D.
Hoá học hữu cơ là ngành hoá học chuyên nghiên cứu các hợp chất của carbon trừ muối carbonate.
Đáp án : B
Dựa vào khái niệm của hóa học hữu cơ
Đáp án B
Câu 12 :
Hợp chất Y có công thức phân tử C2H6O, là một hợp chất dễ bay hơi, có nhiều ứng dụng
trong đời sống. Dựa vào bảng tín hiệu phổ hổng ngoại của một số nhóm chức cơ bản và phố IR dưới đây, hãy cho biết trong phân tử C2H6O có nhóm chức của hợp chất nào sau đây?

-
A.
Alcohol
-
B.
Carboxylic acid
-
C.
Ester
-
D.
Amine
Đáp án : A
Dựa vào bảng tín hiệu hồng ngoại của một số nhóm chức cơ bản
Dựa vào hình ảnh phổ IR ta thấy chất hữu cơ có tín hiệu ở 3391 cm-1 là tín hiệu đặc trưng của nhóm alcohol
Đáp án A
Câu 13 :
Nấu rượu truyền thống là một phương pháp nấu rượu hoàn toàn thủ công đòi hỏi người nấu phải có kinh nghiệm và thuân thủ đúng quy trình “…” mới sản xuất được rượu đạt chuẩn . Chữ “…” còn thiếu trong câu trên là :
-
A.
Chưng cất.
-
B.
Chiết.
-
C.
Kết tinh.
-
D.
Sắc kí cột.
Đáp án : A
Dựa vào phương pháp tinh chế và tách biệt hợp chất hữu cơ
Sử dụng phương pháp chưng cất để nấu rượu
Đáp án A
Câu 14 :
Mật ong để lâu thường thấy xuất hiện chất rắn ở đáy chai . Đó là hiện tượng
-
A.
kết tinh đường glucose do nước trong mật ong bay hơi.
-
B.
kết tinh đường glucose và fructose do nước trong mật ong bay hơi.
-
C.
kết tinh đường saccarose do nước trong mật ong bay hơi.
-
D.
kết tinh đường fructose do nước trong mật ong bay hơi.
Đáp án : D
Mật ong chứa đường fructose
Mật ong để lâu thường thấy xuất hiện chất rắn ở đáy chai là do đường fructose kết tinh và nước bay hơi
Đáp án D
Câu 15 :
Khi chưng cất dung dịch ethanol và nước chất nào sẽ chuyển thành hơi sớm hơn? (Biết nhiệt độ sôi của ethanol và nước lần lượt là 78,3oC và 100oC )
-
A.
Ethanol bay hơi trước.
-
B.
Nước bay hơi trước.
-
C.
Ethanol và nước chuyển hơi cùng lúc.
-
D.
Ethanol và nước không bay hơi.
Đáp án : A
Phương pháp chưng cất dựa trên độ sôi khác nhau của các chất
Khi chưng chất, độ sôi ethanol thấp hơn nước nên sẽ bay hơi trước,
Đáp án A
Câu 16 :
Giã lá cây chàm, cho vào nước, lọc lấy dung dịch màu để nhuộm sợi, vải. Cách làm này thuộc loại phương pháp tách biệt và tinh chế nào ?
-
A.
Chưng cất.
-
B.
Chiết.
-
C.
Kết tinh.
-
D.
Sắc kí cột.
Đáp án : B
Dựa vào nguyên tắc của các phương pháp tinh chế và tách biệt hợp chất hữu cơ
Sử dụng phương pháp chiết để lọc lấy dung dịch màu để nhuộm sợi, vải
Đáp án B
Câu 17 :
Số đồng phân mạch hở có thể có ứng với các công thức phân tử C3H7Cl là
-
A.
5.
-
B.
2.
-
C.
3.
-
D.
4.
Đáp án : B
C3H7Cl có đồng phân nhóm chức
CH3–CH2–CH2Cl; CH3–CHCl–CH3
Đáp án B
Câu 18 :
Cho cặp chất: C2H5OH và CH3OCH3; CH3OCH3và CH3CHO; C6H5CH2OH và C6H5CH2CH2OH; CH3–CH2–CH2–CH3 và CH3–CH2–CH3. Số cặp chất là đồng đẳng
-
A.
1
-
B.
2
-
C.
3
-
D.
4
Đáp án : B
Đồng phân là những chất khác nhau về cấu tạo
Đáp án B gồm C6H5CH2OH và C6H5CH2CH2OH; CH3–CH2–CH2–CH3 và CH3–CH2–CH3
Câu 19 :
Số chất sau đây là thuộc cùng một công thức phân tử?
CH3–CH2–CH2– CH2–CH3 ; CH3–C(CH3)2 –CH3 ; CH3–CH2–CH2–CH3 ;CH3–CH(CH3)– CH2–CH3
-
A.
1
-
B.
2
-
C.
3
-
D.
4
Đáp án : C
CH3–CH2–CH2– CH2–CH3 CH3–C(CH3)2 –CH3 CH3–CH(CH3)– CH2–CH3 có cùng công thức phân tử C5H12
Đáp án C
Câu 20 :
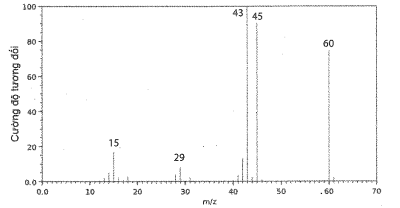
Hình sau đây là phổ khối lượng của phân tử acetic acid.

Phân tử khối của acetic acid bằng
-
A.
43.
-
B.
45.
-
C.
60.
-
D.
29.
Đáp án : C
Có thể dự đoán phân tử khối của hợp chất hữu cơ đơn giản bằng tín hiệu của mảnh ion phân tử (kí hiệu là [M+]). Mảnh ion phân tử này thường ứng với tín hiệu có giá trị m/z lớn nhất.
Cách giải
Giá trị m/z lớn nhất là 60
Đáp án C
Câu 1 :
(2 điểm): Kết quả phân tích nguyên tố cho thấy trong hợp chất Y, carbon chiếm 85,7% còn hydrogen chiếm 14,3% về khối lượng.
(a) Y là hydrocarbon hay dẫn xuất của hydrocarbon.
(b) Xác định công thức đơn giản nhất của Y.
(c) Biết Y có phân tử khối là 56, xác định công thức phân tử của Y.
(a) %mO = 100% - %mC - %mH = 0% \( \Rightarrow \) Y không chứa oxygen trong phân tử nên Y là hydrocarbon
(b) Gọi công thức tổng quát của Y là CxHy
Ta có x : y = \(\frac{{\% {m_C}}}{{12}}:\frac{{\% {m_H}}}{1}\) = \(\frac{{85,7}}{{12}}:\frac{{14,3}}{1}\)= 7,142 : 14,3 = 1: 2 \( \Rightarrow \) CTĐGN của Y là CH2
(c) CTPT của Y có dạng: (CH2)n
MY = 56 \( \Rightarrow \) 14n = 56 \( \Rightarrow \) n = 4 \( \Rightarrow \) CTPT của Y là C4H8
Câu 2 :
(2 điểm): Cho phương trình hoá học của phản ứng:
N2O4(l) + 2N2H4(l) → 3N2(g) + 4H2O(g)
Biết enthalpy tạo thành chuẩn của các chất được trình bày trong bảng sau:
|
Chất |
N2O4(l) |
N2H4(l) |
H2O(g) |
|
\({\Delta _r}H_{298}^o\) |
-19,56 |
50,63 |
-241,82 |
(a) Tính nhiệt tỏa ra khi đốt cháy 1 kg hỗn hợp lỏng gồm N2O4 và N2H4.
(b) Tại sao hỗn hợp lỏng (N2O4 và N2H4) được dùng làm nhiên liệu tên lửa?
(a) = 4.(-241,82) - (-19,56) – 2.50,63 = -1048,98 (kJ).
Cứ 1 mol N2O4 phản ứng với 2 mol N2H4 (khối lượng: 92 + 2.32 = 138 g) tỏa ra 1048,98 kJ
Nhiệt đốt cháy 1 kg hỗn hợp lỏng (N2O4 và N2H4) là:
(b) Quá trình toả nhiệt mạnh và giải phóng một lượng lớn khí nên hỗn hợp lỏng (N2O4 và N2H4) được dùng làm nhiên liệu tên lửa.
Đề thi học kì 1 Hóa 11 Chân trời sáng tạo - Đề số 2
Nguyên tố Sulfur có các số oxi hóa sau :
Xem chi tiết
Đề thi học kì 1 Hóa 11 Chân trời sáng tạo - Đề số 3
Cấu hình electron của nguyên tử S (Z=16) là:
Xem chi tiết
Đề thi học kì 1 Hóa 11 Chân trời sáng tạo - Đề số 4
Nếu ta dẫn khí SO2 từ từ đến dư vào dung dịch brom sẽ có phản ứng hóa học xảy ra kèm hiện tượng gì sau đây?
Xem chi tiết
Đề thi học kì 1 Hóa 11 Chân trời sáng tạo - Đề số 5
Tính chất nào sau đây không phải tính chất vật lí của sulfur?
Xem chi tiết
Đề thi học kì 1 Hóa 11 Chân trời sáng tạo - Đề số 6
Cho các nhận định sau:
Xem chi tiết
Đề thi học kì 1 Hóa 11 Chân trời sáng tạo - Đề số 7
Chất nào dưới đây không là chất điện li?
Xem chi tiết
Đề thi học kì 1 Hóa 11 Chân trời sáng tạo - Đề số 8
Mưa acid có thể bắt nguồn từ núi lửa, cháy rừng
Xem chi tiết
Đề thi học kì 1 Hóa 11 Chân trời sáng tạo - Đề số 9
Cho cân bằng sau: H2(g) + I2(g)
Xem chi tiết
Đề thi học kì 1 Hóa 11 Chân trời sáng tạo - Đề số 10
Chất nào sau đây không có cùng công thức đơn giản nhất là C2H2?
Xem chi tiết
Đề cương ôn tập học kì 1 Hóa 11 - Chân trời sáng tạo
Phản ứng thuận nghịch là phản ứng
Xem chi tiết
>> 2K9 Học trực tuyến - Định hướng luyện thi TN THPT, ĐGNL, ĐGTD ngay từ lớp 11 (Xem ngay) cùng thầy cô giáo giỏi trên Tuyensinh247.com. Bứt phá điểm 9,10 chỉ sau 3 tháng, tiếp cận sớm các kì thi.
![]() |
![]() |
![]() |
![]() |
![]() |
![]() |
![]() |
![]() |







