Đề bài
Câu 1 :
Các mặt bên của hình lăng trụ đứng là
-
A.
Các hình bình hành
-
B.
Các hình thang cân
-
C.
Các hình chữ nhật
-
D.
Các hình vuông
Câu 2 :
Các cạnh bên của hình lăng trụ đứng
-
A.
Song song với nhau
-
B.
Bằng nhau
-
C.
Vuông góc với hai đáy
-
D.
Có cả ba tính chất trên
Cho hình lăng trụ đứng $ABCD.A'B'C'D'$ có đáy $ABCD$ là hình thang vuông \(\left( {\widehat A = \widehat B = {{90}^0}} \right)\) .
Có bao nhiêu cạnh song song với mặt phẳng \(\left( {BCC'B'} \right)\) ?
-
A.
\(1\)
-
B.
\(2\)
-
C.
\(4\)
-
D.
\(5\)
Có bao nhiêu cạnh vuông góc với mặt phẳng \(\left( {BCC'B'} \right)\) ?
-
A.
\(1\)
-
B.
\(2\)
-
C.
\(4\)
-
D.
\(5\)
Câu 5 :
Một hình hộp chữ nhật có diện tích xung quanh bằng tổng diện tích hai đáy, chiều cao bằng $6\,cm$ . Một kích thước của đáy bằng $10\,cm$ , tính kích thước còn lại.
-
A.
\(15\,cm\)
-
B.
\(20\,cm\)
-
C.
\(25\,cm\)
-
D.
\(10\,cm\)
Câu 6 :
Một hình hộp chữ nhật có diện tích xung quanh bằng $120\,c{m^2}$ , chiều cao bằng $6cm$ . Tìm các kích thước của đáy để hình hộp chữ nhật có thể tích lớn nhất.
-
A.
\(8\,cm\)
-
B.
\(7\,cm\)
-
C.
\(6\,cm\)
-
D.
\(5\,cm\)
Câu 7 :
Tính thể tích của hình lăng trụ đứng có chiều cao $20\,{\rm{cm}}$, đáy là một tam giác vuông có các cạnh góc vuông bằng $8\,{\rm{cm}}$ và $10\,{\rm{cm}}$.
-
A.
\(800\,c{m^3}\)
-
B.
\(400\,c{m^3}\)
-
C.
\(600\,c{m^3}\)
-
D.
\(500\,c{m^3}\)
Câu 8 :
Cho một hình lăng trụ đứng có diện tích đáy là $S$ , chiều cao là $h$ . Hỏi công thức tính thể tích hình lăng trụ đứng là gì?
-
A.
$S.h\;\;\;\;\;\;$
-
B.
\(\dfrac{1}{2}S.h\)
-
C.
$2S.h$
-
D.
$3S.h$
Câu 9 :
Tính thể tích của hình lăng trụ đứng sau:
-
A.
\(16\;c{m^3}\)
-
B.
\(20\;c{m^3}\)
-
C.
\(26\;c{m^3}\)
-
D.
\(22\;c{m^3}\)
Câu 10 :
Một lăng trụ đứng có đáy là hình chữ nhật có các kích thước $3$ cm, $8$ cm. Chiều cao của hình lăng trụ đứng là $2$cm. Tính diện tích xung quanh và thể tích của hình lăng trụ đứng.
-
A.
\(48\;c{m^2},\;46\;c{m^3}\)
-
B.
\(48\;c{m^2},\;44\;c{m^3}\)
-
C.
\(46\;c{m^2},\;48\;c{m^3}\)
-
D.
\(44\;c{m^2},\;48\;c{m^3}\)
Câu 11 :
Hình lăng trụ đứng tam giác có tất cả bao nhiêu cạnh?
-
A.
9
-
B.
6
-
C.
12
-
D.
8
Câu 12 :
Phát biểu nào sau đây là đúng?
-
A.
Các mặt bên của hình lăng trụ đứng là các hình chữ nhật.
-
B.
Các mặt bên của hình lăng trụ đứng là các hình thang cân.
-
C.
Các mặt đáy của hình lăng trụ đứng là các hình chữ nhật.
-
D.
Các mặt đáy của hình lăng trụ đứng là các hình tam giác.
Câu 13 :
Tính thể tích của hình lăng trụ đứng có chiều cao \(20cm\), đáy là một tam giác vuông có các cạnh góc vuông lần lượt là \(8cm\) và \(10cm\).
-
A.
\(800c{m^3}\)
-
B.
\(400c{m^3}\)
-
C.
\(600c{m^3}\)
-
D.
\(500c{m^3}\)
Câu 14 :
Tính thể tích phần không gian của một ngôi nhà dạng một lăng trụ đứng theo các kích thước đã cho trong hình.

-
A.
369 m3
-
B.
315 m3
-
C.
327 m3
-
D.
423 m3
Câu 15 :
Một chiếc đèn lồng có dạng hình lăng trụ đứng, chiều cao \(40cm\) và đáy là lục giác đều cạnh \(18cm\). Nếu giữ nguyên chiều cao của đèn thì phải giảm độ dài cạnh đáy bao nhiêu lần để thể tích của đèn giảm đi hai lần.
-
A.
\(\sqrt 2 \)lần
-
B.
2 lần
-
C.
4 lần
-
D.
8 lần
Câu 16 :
Hình lăng trụ đứng tứ giác có đáy là hình thang cân có bao nhiêu mặt bên?
-
A.
\(3\)
-
B.
\(4\)
-
C.
\(5\)
-
D.
\(6\)
Câu 17 :
Một hình lăng trụ đứng có đáy là hình chữ nhật có các kích thước \(3cm,\,\,8cm\). Chiều cao của hình lăng trụ đứng là \(2cm\). Diện tích xung quanh của hình lăng trụ đứng là
-
A.
\(44c{m^2}\)
-
B.
\(24c{m^2}\)
-
C.
\(48c{m^2}\)
-
D.
\(22c{m^2}\)
Câu 18 :
Cho hình lăng trụ đứng có diện tích xung quanh bằng 336 cm2, chiều cao 14 cm. Khi đó, chu vi đáy của hình lăng trụ đứng là:
-
A.
\(12cm\)
-
B.
\(24cm\)
-
C.
\(36cm\)
-
D.
\(48cm\)
Câu 19 :
Một hình lăng trụ đều (tức là lăng trụ có đáy là đa giác đều) có tất cả \(18\) cạnh, mỗi cạnh dài \(6\sqrt 3 \) cm. Tính thể tích của hình lăng trụ đó.
-
A.
864 cm3
-
B.
1944 cm3
-
C.
2916 cm3
-
D.
1122 cm3
Câu 20 :
Một hình lăng trụ đứng có đáy là hình chữ nhật có diện tích xung quanh bằng tổng diện tích hai đáy, chiều cao bằng \(6cm\). Một kích thước của đáy bằng \(10cm\), tính kích thước còn lại.
-
A.
\(15cm\)
-
B.
\(20cm\)
-
C.
\(25cm\)
-
D.
\(10cm\)
Lời giải và đáp án
Câu 1 :
Các mặt bên của hình lăng trụ đứng là
-
A.
Các hình bình hành
-
B.
Các hình thang cân
-
C.
Các hình chữ nhật
-
D.
Các hình vuông
Đáp án : C
Hình lăng trụ đứng có hai đáy là những đa giác, các mặt bên là những hình chữ nhật.
Câu 2 :
Các cạnh bên của hình lăng trụ đứng
-
A.
Song song với nhau
-
B.
Bằng nhau
-
C.
Vuông góc với hai đáy
-
D.
Có cả ba tính chất trên
Đáp án : D
Hình lăng trụ đứng có các mặt bên là hình chữ nhật, các cạnh bên vuông góc với đáy nên chúng song song và bằng nhau.
Cho hình lăng trụ đứng $ABCD.A'B'C'D'$ có đáy $ABCD$ là hình thang vuông \(\left( {\widehat A = \widehat B = {{90}^0}} \right)\) .
Có bao nhiêu cạnh song song với mặt phẳng \(\left( {BCC'B'} \right)\) ?
-
A.
\(1\)
-
B.
\(2\)
-
C.
\(4\)
-
D.
\(5\)
Đáp án: C
Sử dụng quan hệ song song giữa đường thẳng và mặt phẳng.
Vì $AA'{\rm{//}}BB'{\rm{//}}DD'$ và \(A'D'{\rm{//}}AD{\rm{//}}BC\) nên các đường thẳng $AA',DD',AD,A'D'$ song song với mp $\left( {BCC'B'} \right).$
Có bao nhiêu cạnh vuông góc với mặt phẳng \(\left( {BCC'B'} \right)\) ?
-
A.
\(1\)
-
B.
\(2\)
-
C.
\(4\)
-
D.
\(5\)
Đáp án: B
Sử dụng quan hệ vuông góc giữa đường thẳng và mặt phẳng.
Vì \(AB \bot BC\) (do \(ABCD\) là hình thang vuông) và \(AB \bot BB'\) (tính chất lăng trụ đứng)
Nên \(AB \bot \left( {BCC'B'} \right)\) , tương tự ta có \(A'B' \bot \left( {BCC'B'} \right)\)
Do đó $AB,A'B'$ vuông góc với mp $\left( {BCC'B'} \right).$
Câu 5 :
Một hình hộp chữ nhật có diện tích xung quanh bằng tổng diện tích hai đáy, chiều cao bằng $6\,cm$ . Một kích thước của đáy bằng $10\,cm$ , tính kích thước còn lại.
-
A.
\(15\,cm\)
-
B.
\(20\,cm\)
-
C.
\(25\,cm\)
-
D.
\(10\,cm\)
Đáp án : A
Đặt $AD = x$ .
Diện tích xung quanh bằng:
$2\left( {10 + x} \right).6\left( {c{m^2}} \right)$
Tổng diện tích hai đáy bằng $2.10x\left( {c{m^2}} \right)$
Ta có $2\left( {10 + x} \right).6{\rm{ }} = {\rm{ }}2.10x \Leftrightarrow 60 + 6x = 10x \Leftrightarrow x = 15$
Kích thước còn lại của đáy bằng $15cm$ .
Câu 6 :
Một hình hộp chữ nhật có diện tích xung quanh bằng $120\,c{m^2}$ , chiều cao bằng $6cm$ . Tìm các kích thước của đáy để hình hộp chữ nhật có thể tích lớn nhất.
-
A.
\(8\,cm\)
-
B.
\(7\,cm\)
-
C.
\(6\,cm\)
-
D.
\(5\,cm\)
Đáp án : D
+ Sử dụng công thức thể tích và diện tích xung quanh của hình hộp chữ nhật.
+ Dùng hằng đẳng thức để biện luận theo yêu cầu đề bài.
Gọi $a$ và $b$ là các kích thước của đáy.
Ta có $V = 6ab$ nên $V$ lớn nhất \( \Leftrightarrow \) $ab$ lớn nhất
\({S_{xq}} = 120\) nên \(2\left( {a + b} \right).6 = 120\) hay \(a + b = 10\).
Ta có: \(ab = a\left( {10 - a} \right) = - {a^2} + 10a = - {\left( {a - 5} \right)^2} + 25 \le 25\).
Suy ra \(V = 6ab \le 6.25 = 150\).
Thể tích lớn nhất bằng \(150\) \({\rm{c}}{{\rm{m}}^3}\) khi \(a = b = 5\), tức là các cạnh đáy bằng $5$ cm.
Câu 7 :
Tính thể tích của hình lăng trụ đứng có chiều cao $20\,{\rm{cm}}$, đáy là một tam giác vuông có các cạnh góc vuông bằng $8\,{\rm{cm}}$ và $10\,{\rm{cm}}$.
-
A.
\(800\,c{m^3}\)
-
B.
\(400\,c{m^3}\)
-
C.
\(600\,c{m^3}\)
-
D.
\(500\,c{m^3}\)
Đáp án : A
Sử dụng công thức tính thể tích hình lăng trụ đứng \(V = S.h\) với \(S\) là diện tích đáy, \(h\) là chiều cao.
Vì đáy là tam giác vuông nên diện tích đáy \(S = \dfrac{{8.10}}{2} = 40\,cm\) .
Thể tích lăng trụ đứng là \(V = S.h = 40.20 = 800\,c{m^3}\) .
Câu 8 :
Cho một hình lăng trụ đứng có diện tích đáy là $S$ , chiều cao là $h$ . Hỏi công thức tính thể tích hình lăng trụ đứng là gì?
-
A.
$S.h\;\;\;\;\;\;$
-
B.
\(\dfrac{1}{2}S.h\)
-
C.
$2S.h$
-
D.
$3S.h$
Đáp án : A
Công thức tính thể tích hình lăng trụ đứng là: $V = S.h$
- Học sinh cần ghi nhớ công thức tính thể tích hình lăng trụ đứng.
Câu 9 :
Tính thể tích của hình lăng trụ đứng sau:
-
A.
\(16\;c{m^3}\)
-
B.
\(20\;c{m^3}\)
-
C.
\(26\;c{m^3}\)
-
D.
\(22\;c{m^3}\)
Đáp án : D
- Chia hình lăng trụ đứng thành các hình hộp chữ nhật nhỏ hơn, sau đó tính thể tích từng hình hộp chữ nhật nhỏ.
- Tính được thể tích lăng trụ đứng bằng tổng thể tích các hình hộp chữ nhật nhỏ
Hình lăng trụ đứng đã cho được tạo thành từ 2 hình hộp chữ nhật. Hình hộp chữ nhật thứ nhất có kích thước là
\(3cm,\;\;1cm,\;\;2cm;\) hình hộp chữ nhật thứ hai có kích thước là \(2cm,\;\;4cm,\;\;2cm.\)
Thể tích hình hộp chữ nhật thứ nhất là: \({V_1} = 3.1.2 = 6\;c{m^3}\)
Thể tích hình hộp chữ nhật thứ hai là: \({V_2} = 2.4.2 = 16\;c{m^3}\)
Thể tích hình lăng trụ đứng là: \(V = {V_1} + {V_2} = 6 + 16 = 22\;c{m^3}\)
Học sinh cần ghi nhớ các công thức tính thể tích hình hộp chữ nhật và hình lăng trụ đứng.
Câu 10 :
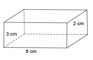
Một lăng trụ đứng có đáy là hình chữ nhật có các kích thước $3$ cm, $8$ cm. Chiều cao của hình lăng trụ đứng là $2$cm. Tính diện tích xung quanh và thể tích của hình lăng trụ đứng.
-
A.
\(48\;c{m^2},\;46\;c{m^3}\)
-
B.
\(48\;c{m^2},\;44\;c{m^3}\)
-
C.
\(46\;c{m^2},\;48\;c{m^3}\)
-
D.
\(44\;c{m^2},\;48\;c{m^3}\)
Đáp án : D
- Áp dụng công thức tính diện tích xung quanh hình lăng trụ đứng và thể tích hình lăng trụ đứng để giải bài toán: \({S_{xq}} = 2\left( {a + b} \right)c,\;\;V = abc.\)
Diện tích xung quanh \({S_{xq}} = 2.(8 + 3).2 = 44\;c{m^2}\)
Thể tích của hình lăng trụ đứng là:\(V = 8.3.2 = 48\;c{m^3}\)
- Học sinh cần nắm vững kiến thức về hình lăng trụ đứng và các công thức tính toán của hình lăng trụ đứng.
Câu 11 :
Hình lăng trụ đứng tam giác có tất cả bao nhiêu cạnh?
-
A.
9
-
B.
6
-
C.
12
-
D.
8
Đáp án : A
Đặc điểm hình lăng trụ đứng tam giác

Các cạnh của hình lăng trụ đứng tam giác là: \(AB,\,\,AC,\,\,BC,\,\,{A_1}{B_1},\)\({A_1}{C_1},\,\,{B_1}{C_1},\,\,A{A_1},\,\,\,B{B_1},\,C{C_1}\)
Vậy hình lăng trụ đứng tam giác có tất cả \(9\) cạnh.
Câu 12 :
Phát biểu nào sau đây là đúng?
-
A.
Các mặt bên của hình lăng trụ đứng là các hình chữ nhật.
-
B.
Các mặt bên của hình lăng trụ đứng là các hình thang cân.
-
C.
Các mặt đáy của hình lăng trụ đứng là các hình chữ nhật.
-
D.
Các mặt đáy của hình lăng trụ đứng là các hình tam giác.
Đáp án : A
Đặc điểm hình lăng trụ đứng tam giác
Hình lăng trụ đứng có hai đáy là những đa giác, các mặt bên là những hình chữ nhật.
Câu 13 :
Tính thể tích của hình lăng trụ đứng có chiều cao \(20cm\), đáy là một tam giác vuông có các cạnh góc vuông lần lượt là \(8cm\) và \(10cm\).
-
A.
\(800c{m^3}\)
-
B.
\(400c{m^3}\)
-
C.
\(600c{m^3}\)
-
D.
\(500c{m^3}\)
Đáp án : A
+ Tính diện tích đáy là tam giác vuông: Sđáy = \(\frac{1}{2}\). Cạnh góc vuông . cạnh góc vuông
+ Tính thể tích: V = Sđáy . h
Diện tích đáy của hình lăng trụ đứng là:\(\dfrac{1}{2}.8.10=40 cm^3\)
Thể tích của hình lăng trụ đứng là: \( 40.20= 800\,\,\left( {c{m^3}} \right)\)
Vậy thể tích của hình lăng trụ đứng là \(800\,\,\left( {c{m^3}} \right)\).
Câu 14 :
Tính thể tích phần không gian của một ngôi nhà dạng một lăng trụ đứng theo các kích thước đã cho trong hình.

-
A.
369 m3
-
B.
315 m3
-
C.
327 m3
-
D.
423 m3
Đáp án : A
Tính tổng của thể tích hình lăng trụ và thể tích hình hộp chữ nhật.

Theọ hình vẽ, ngôi nhà gồm hai phần: một phần là lăng trụ đứng có đáy là tam giác cân cạnh đáy bằng \(6m\), chiều cao đáy \(1,2m\), chiều cao lăng trụ bằng \(15m\); phần còn lại là hình hộp chữ nhật có kích thước đáy là \(6m\) và \(15m\), chiều cao \(3,5m\).
Thể tích hình lăng trụ tam giác là:
\({V_1} = \frac{1}{2}.6.1,2.15 = 54{\rm{ }}\left( {{m^3}} \right)\)
Thể tích hình hộp chữ nhật là:
\({V_2} = 6.15.3,5 = 315{\rm{ }}\left( {{m^3}} \right)\)
Thể tích phần không gian bên trong của cả ngôi nhà là:
\(V = {V_1} + {V_2} = 54 + 315 = 369{\rm{ }}\left( {{m^3}} \right)\)
Thể tích phần không gian của ngôi nhà là \(369{\rm{ }}\left( {{m^3}} \right)\)
Câu 15 :
Một chiếc đèn lồng có dạng hình lăng trụ đứng, chiều cao \(40cm\) và đáy là lục giác đều cạnh \(18cm\). Nếu giữ nguyên chiều cao của đèn thì phải giảm độ dài cạnh đáy bao nhiêu lần để thể tích của đèn giảm đi hai lần.
-
A.
\(\sqrt 2 \)lần
-
B.
2 lần
-
C.
4 lần
-
D.
8 lần
Đáp án : A
Lập tỉ số thể tích trước và sau khi giảm độ dài cạnh đáy.
Diện tích đáy đèn là: \(S = \frac{{{a^2}\sqrt 3 }}{4}.6\)\( = \frac{{{{18}^2}\sqrt 3 }}{4}.6 = 486\sqrt 3 \,\,\left( {c{m^2}} \right)\)
Gọi \(a\) và \(b\) lần lượt là độ dài cạnh đáy đèn lồng trước và sau khi giảm thể tích.
Gọi \({S_1}\) và \({S_2}\) là các diện tích đáy tương ứng. Khi đó: \({V_1} = {S_1}.h;\,\,{V_2} = {S_2}.h\)
Ta có: \(\frac{{{V_1}}}{{{V_2}}} = 2 \Leftrightarrow \frac{{{S_1}.h}}{{{S_2}.h}} = 2\)\( \Leftrightarrow \frac{{{S_1}}}{{{S_2}}} = 2\)
\( \Leftrightarrow \frac{{{a^2}\sqrt 3 .6}}{4}:\frac{{{b^2}\sqrt 3 .6}}{4} = 2\)\( \Leftrightarrow {a^2}:{b^2} = 2\)\( \Leftrightarrow a:b = \sqrt 2 \)
Vậy độ dài cạnh đáy phải giảm đi \(\sqrt 2 \) lần.
Câu 16 :
Hình lăng trụ đứng tứ giác có đáy là hình thang cân có bao nhiêu mặt bên?
-
A.
\(3\)
-
B.
\(4\)
-
C.
\(5\)
-
D.
\(6\)
Đáp án : B
Đặc điểm lăng trụ đứng tứ giác

Hình lăng trụ đứng \(ABCD.{A_1}{B_1}{C_1}{D_1}\) có đáy \({A_1}{B_1}{C_1}{D_1}\) là hình thang cân, có các mặt bên là: \(AD{D_1}{A_1};\,\,AB{B_1}{A_1};\,\,DC{C_1}{D_1};\,\,BC{C_1}{B_1}\)
Vậy hình lăng trụ đứng tứ giác đáy là hình thang cân có 4 mặt bên.
Câu 17 :
Một hình lăng trụ đứng có đáy là hình chữ nhật có các kích thước \(3cm,\,\,8cm\). Chiều cao của hình lăng trụ đứng là \(2cm\). Diện tích xung quanh của hình lăng trụ đứng là
-
A.
\(44c{m^2}\)
-
B.
\(24c{m^2}\)
-
C.
\(48c{m^2}\)
-
D.
\(22c{m^2}\)
Đáp án : A
+ Tính chu vi đáy là hình chữ nhật
+ Tính Sxq = chu vi đáy . chiều cao
Chu vi đáy của hình lăng trụ đứng là: \(\left( {8 + 3} \right).2 = 22\left( {cm} \right)\)
Diện tích xung quanh của hình lăng trụ đứng là: \({S_{xq}} = C.h = 22.2 = 44\,\,\left( {c{m^2}} \right)\)
Vậy diện tích xung quanh của hình lăng trụ đứng là \(44\,\,\left( {c{m^2}} \right)\)
Câu 18 :
Cho hình lăng trụ đứng có diện tích xung quanh bằng 336 cm2, chiều cao 14 cm. Khi đó, chu vi đáy của hình lăng trụ đứng là:
-
A.
\(12cm\)
-
B.
\(24cm\)
-
C.
\(36cm\)
-
D.
\(48cm\)
Đáp án : B
Từ công thức Sxq = Chu vi đáy . chiều cao suy ra chu vi đáy
Chu vi đáy của hình lăng trụ đứng đó là:
C = Sxq : h = 336 : 14 = 24 (cm)
Câu 19 :
Một hình lăng trụ đều (tức là lăng trụ có đáy là đa giác đều) có tất cả \(18\) cạnh, mỗi cạnh dài \(6\sqrt 3 \) cm. Tính thể tích của hình lăng trụ đó.
-
A.
864 cm3
-
B.
1944 cm3
-
C.
2916 cm3
-
D.
1122 cm3
Đáp án : C
Để tìm được thể tích lăng trụ đứng khi đã biết chiều cao, ta cần tính diện tích đáy.
Thể tích = diện tích đáy . chiều cao

Gọi số cạnh của một đáy là \(n\). Khi đó số cạnh bên là \(n\).
Suy ra, tổng số cạnh của hình lăng trụ đứng là \(n + n + n = 3n\).
Theo đề bài, hình lăng trụ đều có tất cả 18 cạnh, ta có: \(3n = 18 \Rightarrow n = 6.\)
Vậy hình lăng trụ đứng đã cho là hình lăng trụ lục giác đều.
Có thể coi diện tích đáy là tổng diện tích của 6 tam giác đều, mỗi cạnh bằng \(6\sqrt 3 \) cm.
Do đó diện tích đáy là: \(S = \frac{{{{\left( {6\sqrt 3 } \right)}^2}.\sqrt 3 }}{4}.6 = 162\sqrt 3 \) ( cm2)
Thể tích hình lăng trụ là: \(V = S.h = 162\sqrt 3 .6\sqrt 3 \)= 2916 ( cm3)
Thể tích hình lăng trụ là 2916 ( cm3).
Câu 20 :
Một hình lăng trụ đứng có đáy là hình chữ nhật có diện tích xung quanh bằng tổng diện tích hai đáy, chiều cao bằng \(6cm\). Một kích thước của đáy bằng \(10cm\), tính kích thước còn lại.
-
A.
\(15cm\)
-
B.
\(20cm\)
-
C.
\(25cm\)
-
D.
\(10cm\)
Đáp án : A
Sử dụng công thức diện tích xung quanh của hình lăng trụ đứng:
\({S_{xq}} = C.h\)
Trong đó, \(C\) là chu vi đáy; \(h\) là chiều cao

Đặt \(AD = x\left( {cm} \right)\).
Chu vi đáy của hình lăng trụ là: \(C = 2(AB + AD) = 2(10+x) (cm)\)
Diện tích xung quanh của hình lăng trụ là:
\({S_{xq}} = C.h\)\( = 2.\left( {10 + {\rm{ }}x} \right).6\)\( = 12.\left( {10 + {\rm{ }}x} \right)\,\,\left( {c{m^2}} \right)\)
Tổng diện tích hai đáy của hình lăng trụ là: \(2.10x = 20x\,\,(c{m^2})\)
Theo đề bài, ta có diện tích xung quanh bằng tổng diện tích hai đáy nên \(12.\left( {10 + x} \right) = 20x\)
Do đó \(120 + 12x = 20x\)
Suy ra \(x = 15\,\left( {cm} \right)\)
hay \(AD = 15\left( {cm} \right)\)
Vậy kích thước còn lại của đáy bằng 15 cm.
Luyện tập và củng cố kiến thức Bài 1: Hình hộp chữ nhật. Hình lập phương Toán 7 với đầy đủ các dạng bài tập trắc nghiệm có đáp án và lời giải chi tiết
Xem chi tiết