Hình cắt và mặt cắt là hai thành phần rất quan trọng giúp ta nhận thấy rõ kết cấu bên trong của một vật thể. Vậy cụ thể mặt cắt và hình cắt được hiểu như thế nào? Ứng dụng của chúng ra sao? Hãy cùng VRO Group tìm hiểu trong bài viết dưới đây.

Khái niệm về hình cắt và mặt cắt
Hình cắt là gì?
Đối với những vật thể có nhiều chi tiết phức tạp bên trong, nếu chỉ dùng hình chiếu thì ta khó có thể hiện được toàn bộ vật thể đó. Để khắc phục điều này, hình cắt ra đời. Nó được định nghĩa như sau:
Giả sử người ta dùng mặt cắt tưởng tượng cắt vật thể ra làm hai phần, lấy đi phần ở giữa người quan sát và mặt cắt. Rối chiếu phần còn lại lên mặt phẳng hình chiếu song song với mặt phẳng cắt, thì đó được gọi là hình cắt.
Hiểu theo một cách đơn giản hơn thì hình cắt là hình biểu diễn phần còn lại của vật thể sau khi tưởng tượng cắt bỏ phần ở giữa mặt phẳng cắt và người quan sát.

Hình cắt
Mặt cắt là gì?
Mặt cắt được hiểu là hình biểu diễn nhận được trên mặt phẳng cắt mà khi ta tưởng tượng dùng mặt phẳng cắt này để cắt vật thể. Lưu ý là phần mặt được chọn phải vuông góc với chiều dài của vật thể bị cắt. Hình biểu diễn mặt cắt được dùng để thể hiện hình dạng và cấu tạo phần tử bị cắt mà trên các hình chiếu khó hoặc không thể thể hiện được.
Phân loại
Thực tế trong quá trình thực hiện biểu thị hình cắt và mặt cắt xảy ra nhiều trường hợp, cụ thể:
Phân loại hình cắt
Các loại hình cắt sẽ được phân loại theo cấu tạo của vật thể:
Hình cắt toàn bộ
Hình cắt toàn bộ được dùng để biểu diễn hình dạng bên trong của vật thể. Nó sử dụng một mặt phẳng cắt để chia vật thể thành hai phần.
Hình cắt một nửa (bán phần)
Hình cắt một nửa biểu diễn một nửa hình cắt ghép với một nửa hình chiếu, được ngăn cách nhau bằng nét chấm mảnh. Nó thường được ứng dụng để biểu diễn những vật thể có tính chất đối xứng.
Lưu ý: Các nét đứt ở nửa hình chiếu đã được thể hiện trên nửa hình cắt nên ta không cần vẽ.
Hình cắt cục bộ (riêng phần)
Đây là hình biểu diễn một phần vật thể dưới dạng hình cắt, nó được ngăn cách với phần còn lại của vật thể bằng nét gạch chấm mảnh.
Lưu ý: Phần đường giới hạn của hình cắt sẽ được vẽ bằng các nét lượn sóng.

Phân loại hình cắt
Phân loại mặt cắt
Mặt cắt thường dùng để biểu diễn tiết diện vuông góc của vật thể. Nó được dùng trong trường hợp vật thể có nhiều phần lỗ, rãnh. Mặt cắt được chia thành 2 loại sau:
Mặt cắt chập
Mặt cắt chập được vẽ ngay trên hình chiếu tương ứng, đường bao của mặt cắt được vẽ bằng những nét liền mảnh. Nó thường được dùng để biểu diễn vật thể có hình dạng đơn giản.

Mặt cắt chập
Mặt cắt rời
Mặt cắt rời sẽ được vẽ bên ngoài hình chiếu tương ứng, đường bảo của mặt cắt được vẽ bằng nét liền đậm. Hình biểu diễn của nó được vẽ gần hình chiếu và liên hệ với hình chiếu bằng các nét gạch chấm mảnh.
Ký hiệu hình cắt và mặt cắt
Dưới đây là các Trong tiê ký hiệu về vật liệu trên hình cắt và mặt cắt được quy định theo tiêu chuẩn
Ký hiệu hình cắt
Theo tiêu chuẩn TCVN 5-78 quy định về ký hiệu hình cắt như sau:
- Vị trí các mặt cắt trong hình cắt được biểu thị bằng nét cắt, nét cắt được vẽ bằng nét liền đậm. Các nét cắt sẽ đặt tại chỗ giới hạn của các mặt phẳng cắt: chỗ đầu, chỗ cuối và chỗ chuyển tiếp của các mặt phẳng cắt. Các nét cắt không được cắt đường bao của hình biểu diễn.
- Nét cắt đầu và nét cuối sẽ biểu thị bằng mũi tên chỉ hướng nhìn. Mũi tên vẽ phải vuông góc với nét cắt, đầu mũi tên chạm vào khoảng giữa nét cắt. Bên cạnh mũi tên có ký hiệu chữ A tương ứng với ký hiệu trên hình cắt.
- Phần phía bên trên hình cắt cũng ghi cặp chữ ký hiệu tương ứng với những ký hiệu ghi ở nét cắt. Giữa cặp chữ ký hiệu có dấu nối và dấu gạch ngang bằng nét liền đậm.

Ký hiệu hình cắt
Ký hiệu mặt cắt
Ghi chú trên mặt cắt cần có các nét cắt xác định vị trí mặt phẳng cắt, mũi tên chỉ hướng nhìn và ký hiệu mặt cắt.
Ghi chú trên mặt cắt
Cần phải ghi chú trong mọi trường hợp trừ khi mặt cắt là một hình đối xứng. Đồng thời trục đối xứng của nó đặt trùng với vết mặt phẳng cắt hay trùng với đường kéo dài của mặt phẳng cắt. Khi đó không cần phải vẽ nét cắt, mũi tên chỉ hướng chiếu và ký hiệu bằng chữ. Đối với trường hợp mặt cắt rời cũng ghi chú như trên.
Đối với mặt cắt chập hay cắt rời, trục đối xứng không trùng với vết mặt phẳng cắt hay đường kéo dài của mặt phẳng cắt thì chỉ cần vẽ nét cắt, mũi tên chỉ hướng nhìn, không cần phải ký hiệu bằng chữ.
Trường hợp mặt cắt chập hay mặt cắt rời không có trục đối xứng
Mặt cắt được đặt đúng chiều mũi tên và cho phép đặt mặt cắt ở vị trí bất kỳ trên bản vẽ. Trong trường hợp mặt cắt được xoay thì trên chữ ký hiệu có mũi tên cong xuống cũng giống như hình cắt đã được xoay.
Ký hiệu mặt cắt xoay
Với một số mặt cắt của vật thể có hình dạng giống nhau, những khác nhau về vị trí và góc độ cắt thì mặt cắt đó cùng chữ ký hiệu giống.
Ký hiệu của mắt cắt có hình dạng giống nhau
Nếu mặt phẳng cắt đi qua trục của lỗ tròn xoay hoặc phần lõm tròn xoay thì đường bao của lỗ hoặc lõm đó được vẽ đầy đủ trên mặt cắt.
Mặt phẳng đi qua trục lỗ tròn xoay
Đối với một số trường hợp đặc biệt, cho phép dùng mặt cắt cong để cắt, khi đó mặt cắt được vẽ theo dạng hình trái và có ghi dấu trái.
Các quy ước và cách vẽ hình cắt và mặt cắt
Quy ước và cách vẽ hình cắt
Đối với hình cắt đứng, hình cắt bằng, hình cắt cạnh. Nếu mặt phẳng cắt trùng với mặt phẳng đối xứng của vật thể và hình cắt đó được đặt ở vị trí liên hệ chiều trực tiếp với hình biểu diễn có liên quan thì không cần ghi chú và ký hiệu về hình cắt. Dưới đây một số quy ước và cách vẽ các loại hình cắt:
Hình cắt toàn phần
Hay còn gọi là hình cắt đứng, hình cắt bằng và hình cắt đơn giản. Nó được dùng để thể hiện toàn bộ hình dạng bên trong của vật thể trên các mặt phẳng chiếu cơ bản.
Hình cắt kết hợp với hình chiếu
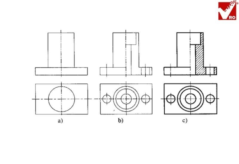
- Nếu như hình chiếu và hình cắt hay hai mặt phẳng cắt của một vật thể trên mặt phẳng hình chiếu nào đó có chung một trục đối xứng. Khi đó ta có thể ghép một nửa hình chiếu với một nửa hình cắt với nhau, hay ghép hai nửa hình cắt với nhau để tạo thành một hình biểu diễn.
- Theo tiêu chuẩn, ta lấy trục đối xứng của hình làm đường phân cách giữa hình chiếu và hình cắt. Phần hình cắt thường được đặt phía bên phải trục đối xứng, nếu trục đối xứng vuông góc với đường bằng của bản vẽ.
- Đối với vật thể hay một bộ phận của vật thể có trục hình học ( trục của hình tròn xoay) thì trục đó được xem như là trục đối xứng của hình biểu diễn và được dùng làm đường phân cách khi ghép hình chiếu với hình cắt.
- Nếu như ghép một nửa hình chiếu và hình cắt ở trên mà có nét liền đậm trùng với trục đối xứng thì dùng nét lượn sóng làm đường phân cách. Và nét này được vẽ lệch sang phân hình chiếu hay hình cắt tùy theo nét liền đậm thuộc hình biểu diễn nào.

Hình cắt kết hợp với hình chiếu
- Đối với trường hợp hình chiếu và hình cắt không có chung trục đối xứng thì cũng có thể ghép một phần hình cắt với một phần hình chiếu và đường phân cách là nét lượn sóng.
Trường hợp hình chiếu và hình cắt không có trục đối xứng
- Trong trường hợp hình chiếu và nhiều hình cắt của vật thể trên một hình chiếu cơ bản nào đó có chung hai trục đối xứng. Khi đó ta có thể ghép một phần hình chiếu với hai hay ba phần hình cắt tạo thành một hình biểu diễn lấy hai trục đối xứng làm đường phân cách.
- Khi hình chiếu được ghép với hình cắt, thường không vẽ nét khuất trên hình chiếu, nếu các nét đó được thể hiện trong hình cắt.
Hình cắt riêng phần
Hình cắt riêng phần vẽ thành hình biểu diễn riêng biệt hay được vẽ ngay ở vị trí tương ứng trên hình chiếu cơ bản. Giới hạn của hình vẽ này sẽ được biểu thị bằng các nét lượn sóng. Nét này không được vẽ trùng với bất kỳ đường nào trên bản vẽ, không được vượt ra ngoài đường bao quanh. Nét lượn sóng thể hiện đường giới hạn của phần vật thể được cắt đi.
Hình cắt bậc
Hình cắt này được thể hiện dưới hình dạng bên trong của một số bộ phận của vật thể. Khi trục đối xứng hay trục quay của bộ phận đó nằm trên mặt phẳng song song với mặt phẳng chiếu. Khi vẽ ta sẽ dùng các mặt phẳng song song đó là mặt cắt. Phần mặt phẳng trung gian nối giữa các mặt cắt được quy ước không thể hiện trên hình cắt và đảm bảo các phần cần được biểu diễn hoàn toàn trên một hình cắt.
Hình cắt xoay
Khi vẽ hình cắt xoay, dùng các mặt phẳng đối xứng làm mặt cắt. Chúng sẽ được xoay về trùng nhau tạo thành một mặt phẳng. Nếu mặt phẳng này song song với mặt phẳng hình chiếu cơ bản thì cắt xoay có thể bố trí ngay trên mặt phẳng hình chiếu có bản đó. Bên cạnh đó chiều xoay không cần thiết phải trùng với hướng nhìn. Khi xoay mặt phẳng cắt, cần xoay cả bộ phận liên quan đến phần bị cắt, còn các phần tử khác vẫn chiếu như khi chưa cắt. Thông thường người ta sử dụng một phần mặt phẳng cắt song song với mặt phẳng hình chiếu cơ bản còn các mặt khác thì có thể xoay về hình chiếu cơ bản.
Quy ước và cách vẽ mặt cắt
Để đồng nhất các hình vẽ của mặt cách, người ta quy ước và cách vẽ như sau:
- Các đường gạch của các kí hiệu vật liệu được vẽ bằng nét mảnh, nghiêng một góc thích hợp, tốt nhất là 450 với đường bao chính hoặc với trục đối xứng mặt cắt.
- Khoảng cách các đường gạch phụ thuộc vào độ lớn của miền gạch và tỷ lệ của bản vẽ, nhưng nó không nhỏ hơn quá hai lần chiều rộng của nét đậm và không nhỏ hơn 0,7mm.
- Nếu miền gạch gạch quá rộng cho phép chỉ vẽ ở vùng biên. Ký hiệu vật liệu của hai chi tiết kề nhau phải phân biệt bằng hướng gạch, hoặc khoảng cách giữa các nét gạch, đường gạch phải so le nhau. Cho phép tô đen các mặt cắt hẹp có bề rộng nhỏ hơn 2mm.
- Đối với các mặt cắt hẹp kề nhau thì phải để khoảng trống nhỏ hơn 0,7mm giữa các mặt cắt hẹp này, không nên kẻ đường gạch gạch qua chữ số kích thước.
Ứng dụng vẽ mặt cắt và hình cắt trong xây dựng
Mặt cắt và hình cắt là hai yếu tố quan trọng không thể thiếu trong thiết kế xây dựng. Chúng sẽ biểu thị chi tiết các cấu trúc bên trong của một ngôi nhà như chiều cao nhà, chiều cao các tầng các lỗ cửa, kích thước tường, vì kèo, sàn máu, cầu thang,… Để từ đó giúp quá trình thi công diễn ra nhanh chóng, chính xác, đạt hiệu quả cao.
Hình cắt và mặt cắt là hai phần không thể thiếu trong các bản vẽ xây dựng. Nó giúp cho quá trình thiết kế, thi công trở nên dễ dàng, chính xác hơn. Mọi thông tin thắc mắc hay cần tư vấn thêm vui lòng liên hệ với VRO Group theo số hotline 0866 04 55 77 để được hỗ trợ chi tiết.